1/1
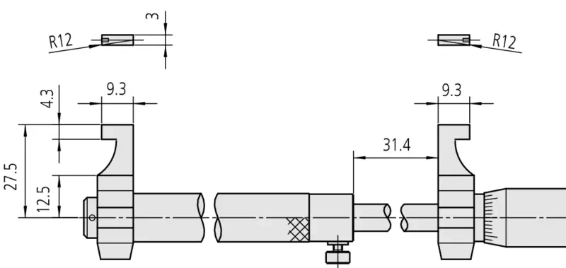
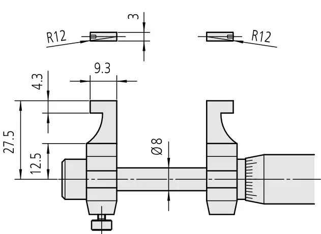
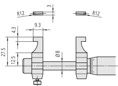
Caliper Jaw Inside Micrometer 250-275mm 145-219
SKU: 145-219
The Caliper Jaw Inside Micrometer offers you the following benefits:
- Carbide measuring faces
- A setting standard (optional) is needed to accurately set the micrometer to the reference point.
(0 Reviews)
0 Sold
Sign in to view the price.






